PlayStation 5 nam omogućuje glatko pregledavanje Storea, koji sada ima privlačan dizajn i pruža igračima mnogo korisnih značajki. Međutim, to nije kraj promjenama, jer Sony radi na još jednoj značajki.
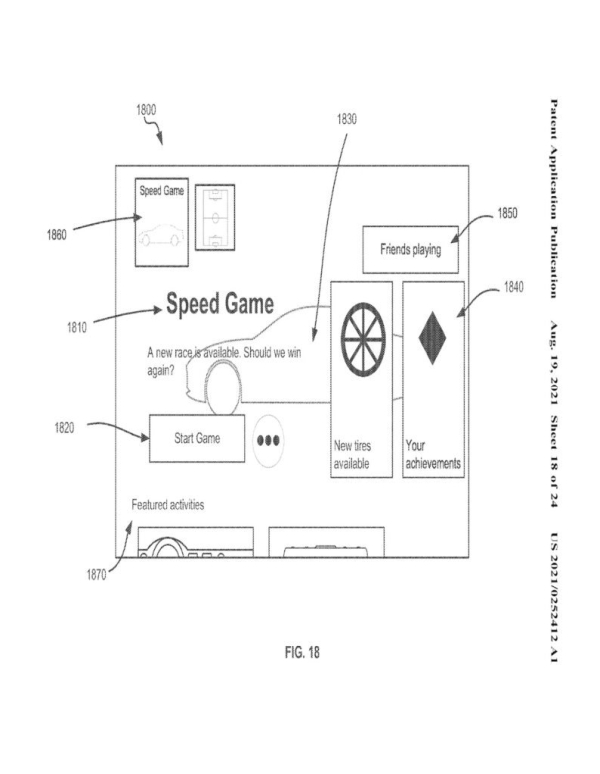
Igrači su pronašli patent koji predstavlja koncept dinamičnih, personaliziranih stranica proizvoda koje se mogu mijenjati i razvijati s određenom igrom. Prema ideji, programeri i izdavači mogli bi izvršiti izmjene na temelju “životnog ciklusa videoigara i korisničkog konteksta“.
Dolje navedeni primjeri prikazuju racing igru s trkaćim pozicijama na kojoj su osim osnovnih podataka uključeni i dodatni podaci, uključujući vaše prijatelje koji igraju igru, postignuća u igri, moguće DLC-ove ili mogućnost provjere videa materijala. Na primjeru Fortnitea, stranica bi mogla sadržavati spominjanja nadolazećeg Battle Passa i najnovijih skinova.


