IGN izvještava o najnovijem prijavljenom Sonyjevom patentu koji navodi na mogućnost igranja PS1,PS2 i PS3 igara na PlayStationu 5 putem clouda.
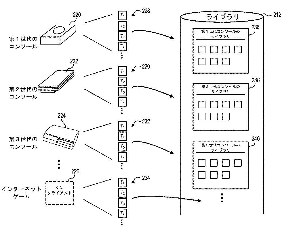
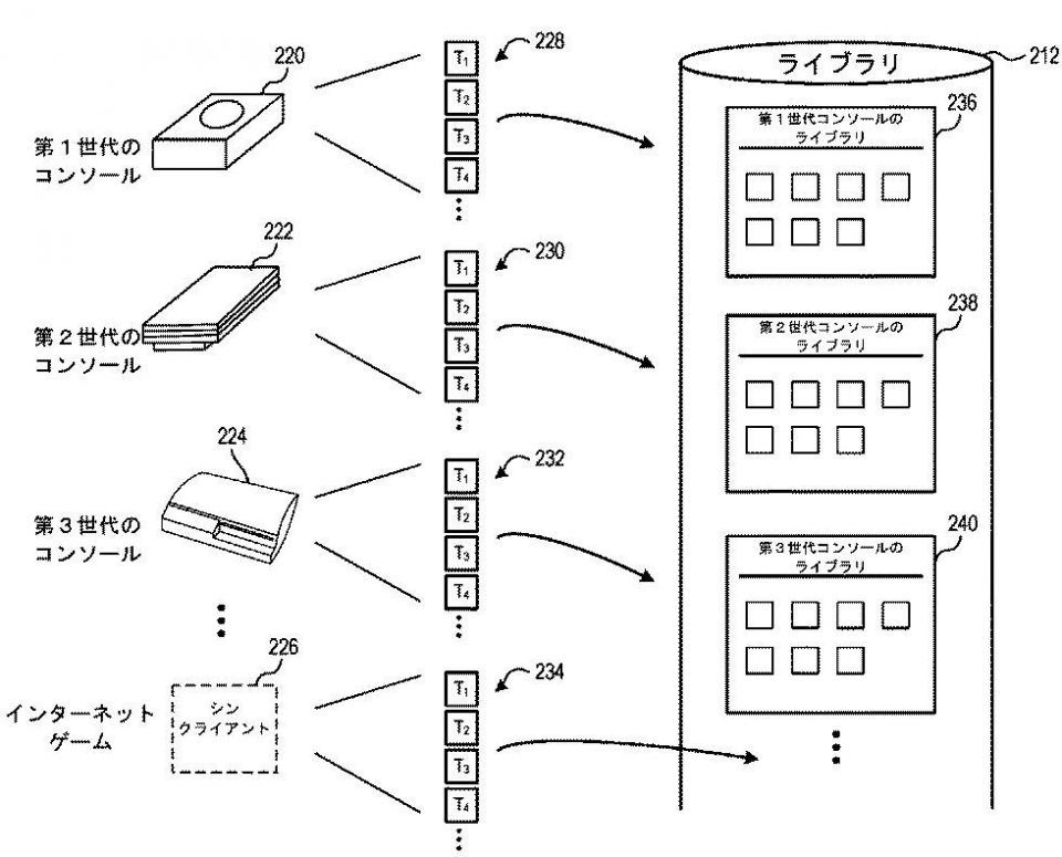
Prvotno objavljeno na Twitter profilu Renka_Schedule, navodi se kako ”veliki broj igara sa prve tri PlayStation konzole će biti spremljene i korištene putem cloud tehnologije. Igre će pokretati virtualni stroj koji oponaša operativni sustav sličan svakoj od tih konzola”.
Objavljena slika govori kako će igre biti emulirane na odvojenim ekranima. Nije jasno kako će se to točno postići i je li vezano uz postojeći PlayStation Now sustav. Moguće je da je ovo ideja kako da se zamjeni izrada sustava backward kompatibilnosti, no nije to navedeno u dokumentima ovoga patenta.
Kasnije je isti Twitter profil naveo informacije drugoga patenta koji navodi da će korisnici moći snimiti i stvoriti mini igre iz njihovog gameplaya, i podijeliti ih sa drugima putem cloud tehnologije.
Naravno, prijava patenata ne znači da će nužno isti proizvodi biti napravljeni i da su siguran dio Sonyjeve budućnosti, no svakako su dokaz da Sony istražuje razne opcije za gaming u budućnosti.
SIEのPS5?特許情報をメモします。
・PS1/PS2/PS3、様々な世代のゲーム機にわたる大量のゲームタイトルが、クラウドゲーミングライブラリを介して蓄積され利用可能。
・これらのゲームは、それぞれのゲーム機に関連したオペレーティングシステムを模倣した仮想マシンの上で実行可能。 pic.twitter.com/TsWV859OLd
— れんか (@Renka_schedule) July 4, 2020


