Gotovo da nema igrača koji se barem jednom nije susreo sa situacijom da mu je igra u nekom trenutku preteška. Neke igre imaju čak i cijeli sistem koji je osmišljen tako da vam sama igra, nakon određenog vremena, ponudi mogućnost promjene težine. No, Sony navodno planira otići korak dalje..
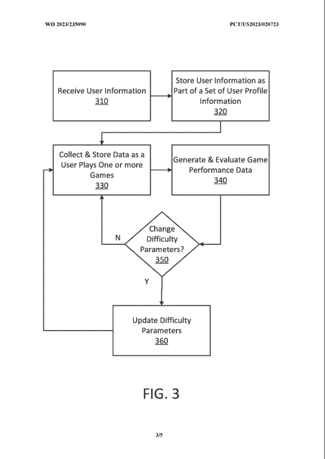
Sony je predao zahtjev za patent koji bi trebao omogućiti samostalnu prilagodbu težine igre dok igrači istu igraju, a takvo što bi trebalo funkcionirati tako što bi algoritmi navedenog patenta bili u mogućnosti da prouče igračevo igranje, navike i tendencije, kao i razne parametre igre (broj protivnika, njihov skill, snaga i količina energije glavnog protagonista isod..) te da fino podese postavku težine na osnovu igračeve izvedbe.
Što to zapravo znači i koliko će se mogućnosti ovog Sonyjevog patenta razlikovati u usporedbi sa već spomenutim opcijama za podešavanja težine igre, ostaje nam da vidimo.


