Dobre ideje se kradu, odnosno „poboljšavaju“, to je bilo oduvijek tako i ostat će tako. Posebice dobar, odnosno poznat pri tome, je Sony. Mnogi Nintendovci vjerojatno nisu mogli vjerovati svojim očima kada su u lipnju 2009. godine vidjeli najnoviji dodatak za PlayStation 3, PlayStation Move, koji je imao iznenađujuće sličnosti s Nintendovim kontrolerom za Wii. To je vjerojatno najzorniji primjer kopiranja u gaming industriji, iako ih ima još…
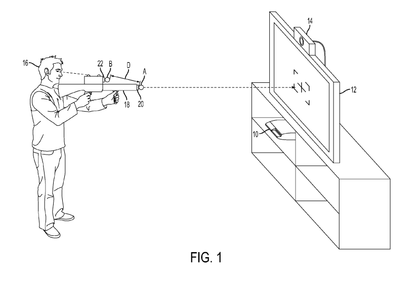
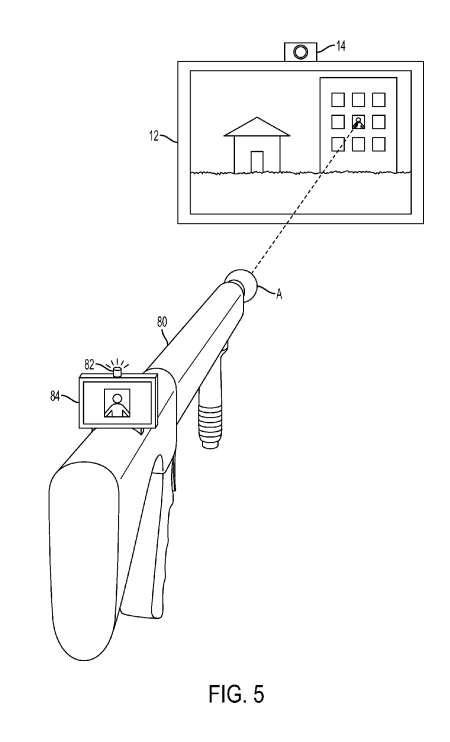
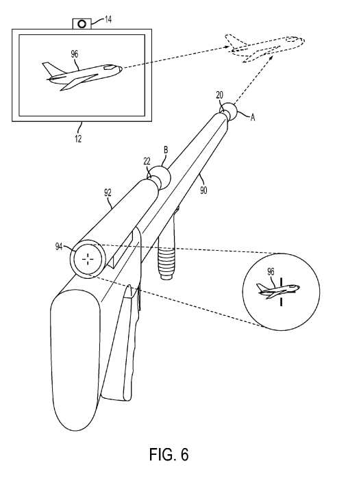
Najnoviji Sonyjev patent, koji prikazuje inovativni način upravljanja oružjem u igrama pomoću dodatnog ekrana, nas podsjeća na gameplay s Wii U GamePadom , no pogledajte sami:
Izvor: playstationlivestyle.net





Leave a Comment