Apple, dugogodišnji poznanik svima koji imaju veze sa tabletima, kompjuterima, operativnim sustavima i sličnim stvarima uskoro kreće u dominaciju još jedne srodne im industrije. Barem tako najavljuju. Naime, nakon dugo nagađanja i čekanja, Apple je potvrdio svoj ulazak u ring gamerske industrije i u novu borbu za prevlast na polju igraćih konzola. Iako tvrtka Cupertino nije službeno izašla sa novostima, patenti za Appleovu konzolu su napokon službeno objavljeni. Uz prikaz kontrolera za novu konzolu (koji je dosta sličan već svim poznatim kontrolerima) objavljeno je i u detalje kako će ta konzola „surađivati“ sa drugim Appleovim proizvodima. No, naknadno se saznalo da taj kontroler samo skica koja neće biti nimalo slična Appleovom igraćem kontroleru, te samo služi da opiše kako će se svi uređaji međusobno spajati.
Budući da Apple ima ogromnu mašineriju i vojsku uređaja iza sebe, taj način spajanja svih uređaja sa konzolom je svakako nešto što zahtjeva pažnju.
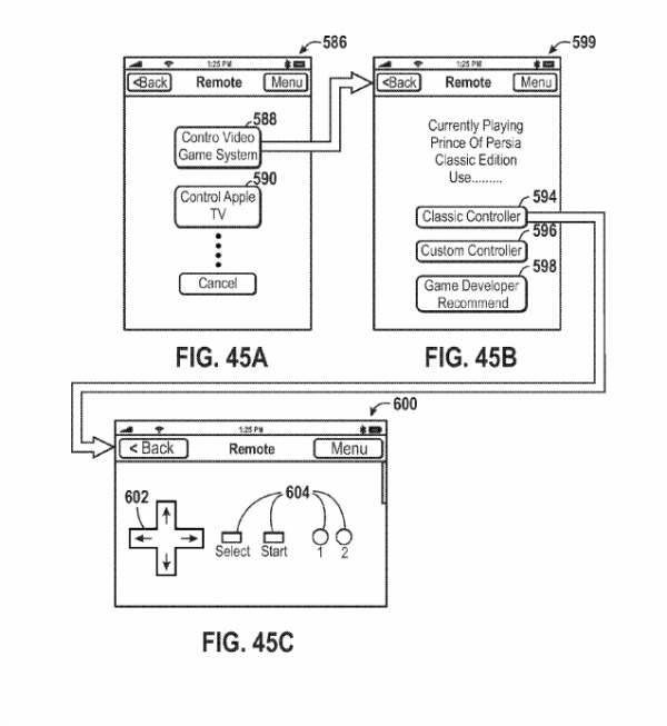
Četvrta slika prikazuje Apple TV koji bi zapravo mogao biti konzola sa mogućnošću upgradea, koja može pokretati iOS igre. To se poklapa i sa nekim prognoziranjima stručnjaka da će se igre u budućnosti igrati na takvim upgradeanim TV uređajima te da će konzole kao zasebni uređaji odumrijeti. Samim time bi se promijenila i cijela stvar oko čekanja novog hardwarea za igranje novih igara. Usto, prema skicama, kontroler bi se trebao spajati sa iPhone i iPod Touch uređajima.
Za kad se sve ovo planira i koliko od toga što smo naveli može biti izvedivo u bliskoj budućnosti, ostaje nam da vidimo.


