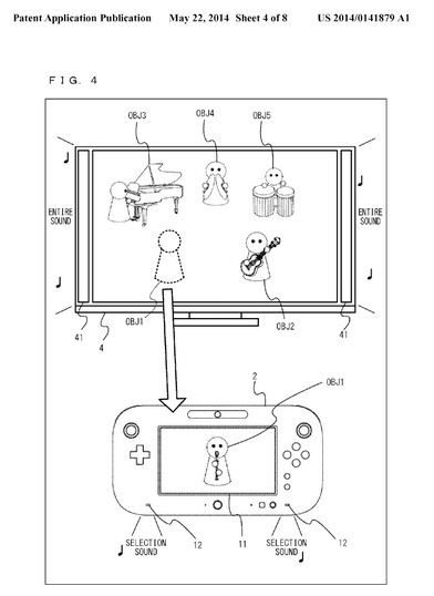
Nintendo je patentirao igru koja, prema ”iskopanim” detaljima na NeoGAF forumu, izgleda kao Wii U verzija popularnoga Wii Musica. Slike ukazuju na to da će igrači moći preuzimati razne uloge u određenoj grupi (bendu?) čije će nastupe oblikovati putem zvučnika i GamePada, zajedno sa zvukom koji dolazi iz televizije. U opisu patenta stoji da ”igra omogućuje odlazni zvuk izvodeći jednu kompoziciju od mnogih ponuđenih instrumenata, a korisnik bira dio koji želi sam reproducirati. Kada se izabere segmenti, započinje rad grupe te korisnik participira u grupi reproducirajući određene operacije koje su mu zadane.”. Iako ovakav opis može proći za razne ideje za igru, teško je zanemariti konotacije na glazbeni bend.
Originalni Wii Music (koji je sličan navedenoj opisanoj formuli patenta) pojavio se 2008.godine i dobio je miješane kritike, ali i veliki broj fanova. Prvi put je najavljen na E3 sajmu 2006.godine, a ukoliko se radi o nečemu ozbiljnom, mnogi očekuju da će se pojaviti neke najave na ovogodišnjem E3 sajmu.


