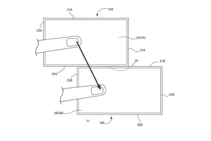
Najnovije informacije o Nintendovom prijavljivanju patenta dale su mnogo stvari za razmišljanje fanovima. Potaknuti velikim uspjehom Switch konzole i velikim brojem korisnika/ica Nintendo DS i 3DS konzola, ne čudi nas da Nintendo nastavlja sa agresivnim plasiranjem novoga hardwarea. Prve slike i opisi sa službene stranice prijave patenata jasno daju do znanja da Nintendo radi na novom aparatu sa dual-screen tehnologijom koja omogućuju revolucionarnu komunikaciju između uređaja. Iako nema detaljnijih potankosti o čemu se točno radi, mnogi su slažu da se radi o novoj handheld konzoli, i to konzoli sličnoj 3DS-u sa dual screen tehnologijom kakvu imamo prilike vidjeti sa Switchom.
Lako je moguće da se radi i o novom dodatku za Nintendo Switch, a zasad se samo možemo nadati da će sami ljudi iz Nintenda razriješiti ovu zagonetku u skoroj budućnosti.



Leave a Comment