Američki ured za patentiranje nedavno je objavio publikaciju na temelju koje se može zaključiti da je Sony otišao korak dalje: pokušava patentirati novi tip dubinske kamere.
Sjećate li se Sonyjevog EyeToya? Sony je uvjerljivo prije konkurencije, daleke 2003. godine imao uređaj koji je mogao koliko-toliko pratiti pokrete igrača prenoseći ih u virtualni svijet igara. U vrijeme PS2 konzole ovo je bio prilično interesantan, zamalo revolucionarni dodatak. Tržište nije bilo spremno za EyeToy odnosno igre koje su se tada nudile pa cijeli projekt nije zaživio punim plućima. Nekoliko godina kasnije, pojavljuje se poboljšana verzija: PlayStation®Eye Camera.
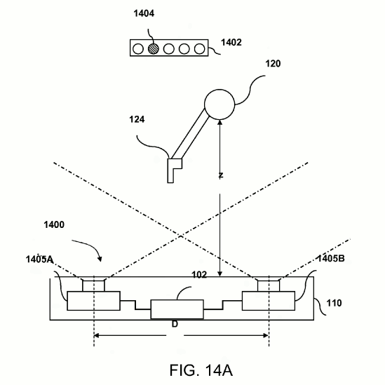
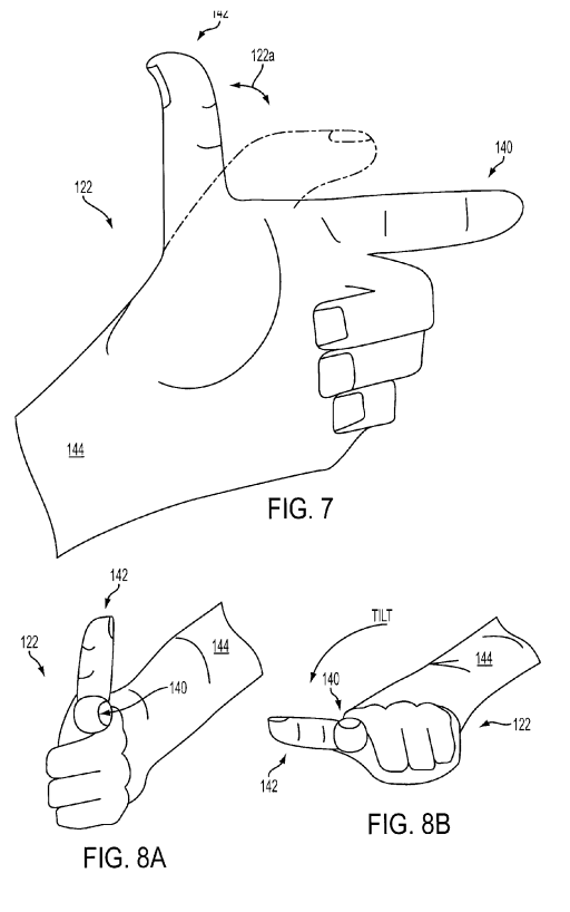
Iz patentne publikacije je vidljivo da će novi uređaj osim određivanja pozicije igrača, prepoznavati dubinu objekata ispred sebe koristeći dvije tehologije: zvuk i infrared. Prikazuje se uređaj koji će imati dvije kamere. Eho-lokacija u usporedbi sa Microsoftovom infra-crvenom tehnologijom djeluje daleko jednostavnija, a nedostatak specijalizirane elektronike za krajnjeg korisnika znači: niža cijena uređaja. Sugerira se nekoliko stvari: kamera će prepoznavati igrača, koliko je udaljen od kamere, kako je pozicioniran u prostoru te što drži u ruci. Određeni položaji šake mogli bi okidati određene promjene unutar igre kao npr. položaj oružja, ciljanje, repetiranje ili okidanje.
Izgleda da ćemo igre nove generacije igrati na drugačiji način koristeći samo naše prste i bez pomoći kontrolera. Nije lako odgovoriti na pitanje hoće li nova Eye Camera biti bolja od Kinecta 2 ili Wii U kontrolera ali igranje FPS igara bi moglo izgledati prilično realistično.

Izvor: freepatentsonline




Leave a Comment